Hochauflösender Linearaktor mit DC-Motor; DC-Motor; 20 mm Stellweg; 50 N Vorschubkraft; 30 mm/s maximale Geschwindigkeit; Kugelumlaufspindel; Inkrementeller Rotationsencoder, 2048 Impulse/U Sensorauflösung; Endschalter: Hall-Effekt; 0,5 m Kabellänge
M-235 Hochauflösender Linearaktor mit DC-Motor
Sehr dynamisch, hohe Kräfte bis 120 N
- Nichtdrehendes Kopfstück: Vermeidung der Übertragung von Rundlauffehlern auf den Kontaktpunkt
- Hochdynamischer DC-Motor: Verkürzung der Zykluszeiten
- Richtungserkennender Referenzschalter: Zeitersparnis bei der Referenzierungsfahrt, Möglichkeit der anwendungsabhängigen Referenzierung zur Vermeidung von Kollisionen
Linearantrieb der Referenzklasse
Verbindet hohe Präzision, hohe Kräfte und hohe Dynamik.
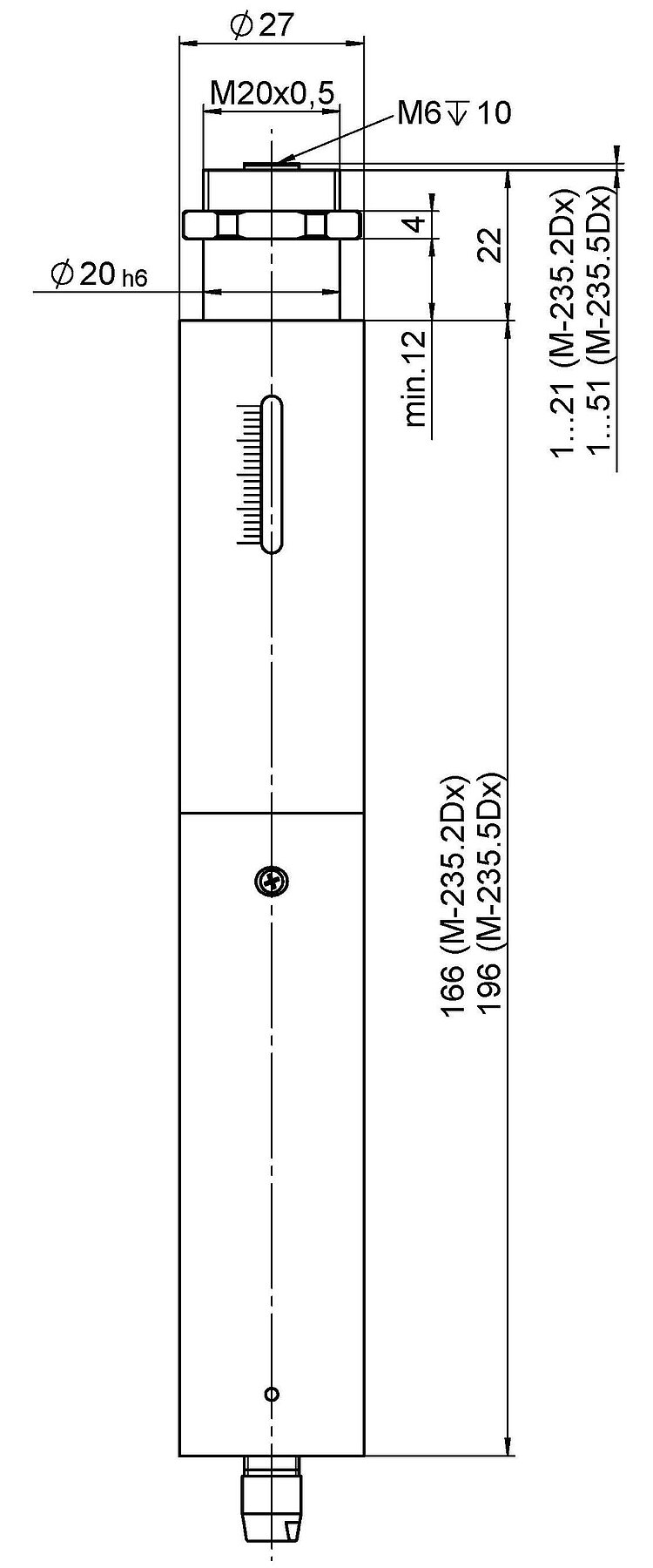
Stellwege von 20 mm und 50 mm, kleinste Schrittweite bis 0,1 µm, DC-Motor für hohe Geschwindigkeiten, Druck-/Zugbelastbarkeit bis 120 N, MTBF >10000 h
Hochwertige Komponenten
Kugelumlaufspindel für hohe Geschwindigkeiten und Zyklenzahlen. Nichtdrehendes Kopfstück für gleichförmige Bewegung vermeidet Taumelfehler, Drehmomente und Verschleiß am Kontaktpunkt. Inkl. Flach- und Kugelkopfstück zur Entkopplung von Kräften. Kontaktlose Endschalter schützen die Mechanik. Ein richtungserkennender Referenzschalter erleichtert Automatisierungsaufgaben. Positionsgeregelte Varianten mit differentiellem Encodertreiber im Stecker für die sichere Signalübertragung über bis zu 10 m.
Motorvarianten
- Hochdynamische geregelte DC-Motoren erreichen hohe Geschwindigkeiten
- Positionsgeregelte DC-Motoren mit Getriebe und hochauflösenden Rotationsencodern ermöglichen eine Schrittweite von nur 100 nm
Einsatzgebiete
Präzisionsjustage. Externes Antriebselement für geführte Systeme.
Spezifikationen
Spezifikationen
| Bewegen | M-235.2DD | M-235.5DD | M-235.2DG | M-235.5DG | Toleranz | 
|---|---|---|---|---|---|
| Aktive Achsen | X | X | X | X | |
| Stellweg in X | 20 mm | 50 mm | 20 mm | 50 mm | |
| Maximale Geschwindigkeit in X, unbelastet | 30 mm/s | 30 mm/s | 2 mm/s | 2 mm/s | |
| Positionieren | M-235.2DD | M-235.5DD | M-235.2DG | M-235.5DG | Toleranz | 
| Kleinste Schrittweite in X | 1,5 µm | 1,5 µm | 0,1 µm | 0,1 µm | typ. | 
| Unidirektionale Wiederholgenauigkeit in X | ± 0,5 µm | ± 0,5 µm | ± 0,1 µm | ± 0,1 µm | typ. | 
| Umkehrspiel in X | 2 µm | 2 µm | 2 µm | 2 µm | typ. | 
| Referenzschalter | Hall-Effekt | Hall-Effekt | Hall-Effekt | Hall-Effekt | |
| Endschalter | Hall-Effekt | Hall-Effekt | Hall-Effekt | Hall-Effekt | |
| Integrierter Sensor | Inkrementeller Rotationsencoder | Inkrementeller Rotationsencoder | Inkrementeller Rotationsencoder | Inkrementeller Rotationsencoder | |
| Sensorauflösung | 2048 Impulse/U | 2048 Impulse/U | 2048 Impulse/U | 2048 Impulse/U | |
| Antriebseigenschaften | M-235.2DD | M-235.5DD | M-235.2DG | M-235.5DG | Toleranz | 
| Antriebstyp | DC-Motor | DC-Motor | DC-Getriebemotor | DC-Getriebemotor | |
| Betriebsspannung | 0 bis ±12 V | 0 bis ±12 V | — | — | |
| Antriebskraft in X | 50 N | 50 N | 120 N | 120 N | typ. | 
| Nennspannung | — | — | 12 V | 12 V | |
| Nennstrom, effektiv | — | — | 0,485 A | 0,485 A | typ. | 
| Spitzenstrom, effektiv | — | — | 1,46 A | 1,46 A | typ. | 
| Spitzenstrom, Zeitbegrenzung | — | — | 3 s | 3 s | |
| Maximale Leistungsaufnahme | — | — | 17,46 W | 17,46 W | |
| Drehmomentkonstante | — | — | 0,0146 N·m/A | 0,0146 N·m/A | typ. | 
| Widerstand Phase-Phase | — | — | 8,77 Ω | 8,77 Ω | typ. | 
| Induktivität Phase-Phase | — | — | 0,2 | 0,2 | |
| Gegen-EMK, rotatorisch | — | — | 1,5267 V/kRPM | 1,5267 V/kRPM | max. | 
| Polpaarzahl | — | — | 1 | 1 | |
| Mechanische Eigenschaften | M-235.2DD | M-235.5DD | M-235.2DG | M-235.5DG | Toleranz | 
| Zulässige Druckkraft in Y | 8 N | 8 N | 8 N | 8 N | max. | 
| Spindeltyp | Kugelumlaufspindel | Kugelumlaufspindel | Kugelumlaufspindel | Kugelumlaufspindel | |
| Spindelsteigung | 1 mm | 1 mm | 1 mm | 1 mm | |
| Getriebeuntersetzung i | — | — | 29,6 : 1 | 29,6 : 1 | |
| Gesamtmasse | 500 g | 650 g | 550 g | 700 g | |
| Material | Aluminium, eloxiert, Chromstahl | Aluminium eloxiert, Chromstahl | Aluminium eloxiert, Chromstahl | Aluminium, eloxiert, Chromstahl | |
| Anschlüsse und Umgebung | M-235.2DD | M-235.5DD | M-235.2DG | M-235.5DG | Toleranz | 
| Betriebstemperaturbereich | -20 bis 65 °C | -20 bis 65 °C | -20 bis 65 °C | -20 bis 65 °C | |
| Anschluss | D-Sub 15 (m) | D-Sub 15 (m) | D-Sub 15 (m) | D-Sub 15 (m) | |
| Kabellänge | 0,5 m | 0,5 m | 0,5 m | 0,5 m | |
| Empfohlene Controller/Treiber | C-863.12 C-885 mit C-863.20C885 C-884 | C-863.12 C-885 mit C-863.20C885 C-884 | C-863.12 C-885 mit C-863.20C885 C-884 | C-863.12 C-885 mit C-863.20C885 C-884 | 
Technische Daten werden bei PI bei 22 ±3 °C spezifiziert. Die angegebenen Werte gelten im unbelasteten Zustand, wenn nicht anders angegeben. Teilweise sind Eigenschaften voneinander abhängig. Die Angabe "typ." kennzeichnet einen statistischen Mittelwert für eine Eigenschaft; sie gibt keinen garantierten Wert für jedes ausgelieferte Produkt an. Bei der Ausgangsprüfung eines Produkts werden nicht alle, sondern nur ausgewählte Eigenschaften geprüft. Beachten Sie, dass sich einige Produkteigenschaften mit zunehmender Betriebsdauer verschlechtern können.
Downloads
Produktmitteilung
Product Change Notification Lable Change M-products
Product Change Notification M-Portfolio Streamlining 2
M-227.10S, M-230.10V, M-230.25V, M-232.17S, M-235.22S, M-235.2VD, M-235.2VG, M-235.52S, M-235.5VD, M-235.5VG
Datenblatt
Dokumentation
Kurzanleitung MP122EK
Linearaktoren: M-168 / M-22x / M-23x
Benutzerhandbuch MP106
M-235 Hochleistungs-Linearaktor
3-D-Modelle
M-235 3D-Modell
Angebot / Bestellung
Fordern Sie ein unverbindliches Angebot über gewünschte Stückzahlen, Preise und Lieferzeiten an oder beschreiben Sie Ihre gewünschte Modifikation.
Hochauflösender Linearaktor mit DC-Motor; DC-Motor; 50 mm Stellweg; 50 N Vorschubkraft; 30 mm/s maximale Geschwindigkeit; Kugelumlaufspindel; Inkrementeller Rotationsencoder, 2048 Impulse/U Sensorauflösung; Endschalter: Hall-Effekt; 0,5 m Kabellänge
Hochauflösender Linearaktor mit DC-Motor; DC-Getriebemotor; 20 mm Stellweg; 120 N Vorschubkraft; 2 mm/s maximale Geschwindigkeit; Kugelumlaufspindel; Inkrementeller Rotationsencoder, 2048 Impulse/U Sensorauflösung; Endschalter: Hall-Effekt; 0,5 m Kabellänge
Hochauflösender Linearaktor mit DC-Motor; DC-Getriebemotor; 50 mm Stellweg; 120 N Vorschubkraft; 2 mm/s maximale Geschwindigkeit; Kugelumlaufspindel; Inkrementeller Rotationsencoder, 2048 Impulse/U Sensorauflösung; Endschalter: Hall-Effekt; 0,5 m Kabellänge
Angebot anfordern
Fragen Sie den Fachmann!
Erhalten Sie innerhalb kürzester Zeit per E-Mail oder Telefon eine Rückmeldung zu Ihren Fragen von einem PI Vertriebsingenieur.
















